Combination Dinner Table/Dishwasher



Carroll J. Boylan patented this gadget in 1995. Supposedly, you can load your dishes into a dishwasher without leaving the table:

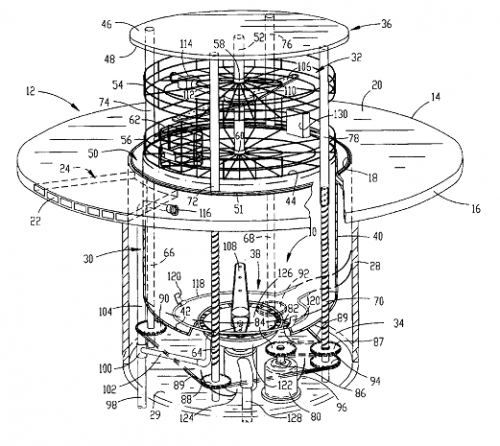
A space-saving dishwasher has a washing basin having side and bottom walls and an open top, and a vertically shiftable rack assembly for carrying dishes. A shifting mechanism is coupled with the rack assembly for selectively shifting the latter between a lower cleaning position, wherein the rack assembly is disposed within the basin below the open top, and an upper loading position, wherein the rack assembly is disposed above the open top of the basin. The dishwasher further includes a lid member for covering the open top of the basin when the rack assembly is in the cleaning position. Structure is also provided for cleaning the dishes carried in the rack assembly, when the assembly is in the cleaning position. The dishwasher is particularly designed for installment within an opening of a substantially horizontally extending table-top or kitchen counter top.


Would you find this invention useful?

http://patft.uspto.gov/netacgi/nph-Parser?Sect2=PTO1&Sect2=HITOFF&p=1&u=%2Fnetahtml%2FPTO%2Fsearch-bool.html&r=1&f=G&l=50&d=PALL&RefSrch=yes&Query=PN%2F5687752 via Anticipate This!

Newest 5
Newest 5 Comments

I would like one of these but i think it would be a little more inconvenient for people who have table clothes and decorations on their tables. Plus, one would have to walk to the sink to rinse off the food anyhow so it would be pointless to move the dish washer to the table if that is the case. Maybe if there was a rinsing attachment or a garbage disposal area as well.
Abusive comment hidden. (Show it anyway.)
@Dr Dan
Dishwashing machines are surprisingly water efficient. Now, that doesn't take into account the electricity to run the machine or the resources to make one, but in any case, they aren't a horrible solution.

@Vonskippy
I'd find it useful, not for the chance to stay seated (though, that would be AWESOME!), but for the use of the wasted space underneath my table. I could really use the extra cabinet where my under-counter dishwasher is.
Abusive comment hidden. (Show it anyway.)
Login to comment.
Email This Post to a Friend
"Combination Dinner Table/Dishwasher"

Separate multiple emails with a comma. Limit 5.

 

Success! Your email has been sent!

close window
X

This website uses cookies.

This website uses cookies to improve user experience. By using this website you consent to all cookies in accordance with our Privacy Policy.

I agree
 
Learn More